Send oss ​​en e-post
Produkter
3V2 magnetventil 3-veis
  • 3V2 magnetventil 3-veis3V2 magnetventil 3-veis
  • 3V2 magnetventil 3-veis3V2 magnetventil 3-veis

3V2 magnetventil 3-veis

Følgende er en introduksjon til 3V2 magnetventil 3-veis, OLK håper å hjelpe deg med å bedre forstå 3V2 magnetventil 3-veis. Velkommen nye og gamle kunder til å fortsette å samarbeide med oss ​​for å skape en bedre fremtid sammen!

3V2 magnetventilen er liten, lett og enkel å installere. Kroppen er laget av sterkt aluminium, som motstår rust og skader. Ventilen bruker en pålitelig magnetspole med alternativer for DC12V, DC24V, AC110V eller AC220V strøm.

Denne 3V2-magnetventilen fra OLK-merket fungerer godt for luftkontroll med middels strømning. Den bytter raskt, bruker lite strøm og varer lenge. Den kan være normalt lukket (NC), normalt åpen (NO) eller dobbel solenoid. Det brukes ofte i automatiseringslinjer, pakkemaskiner, trykkemaskiner og matmaskiner. Den lille størrelsen gjør den perfekt for trange steder.

3V2 magnetventil 3-veis Produktkarakteristikk

1.Direktevirkende struktur med følsom veksling.

2. Normalt lukkede (NC) og normalt åpne (NO) typer tilgjengelig.

3. Koaksial avstengningsdesign for god tetting og stor flyt.

4.Ingen smøring kreves.

5. Utstyrt med en manuell overstyring for enkel installasjon og testing.

6.Flere standard spenningsalternativer tilgjengelig.

3V2 ventil Symbol:

Bestillingskode

3V

2

-

08

NC

A

 

 

 

Modell

Kode

 

 Portstørrelse

Fungerende type

Min. eksitasjonstid

Elektrisk inngang

Trådtype

 

3V:2 posisjon 3 vei

2:2-serien

 

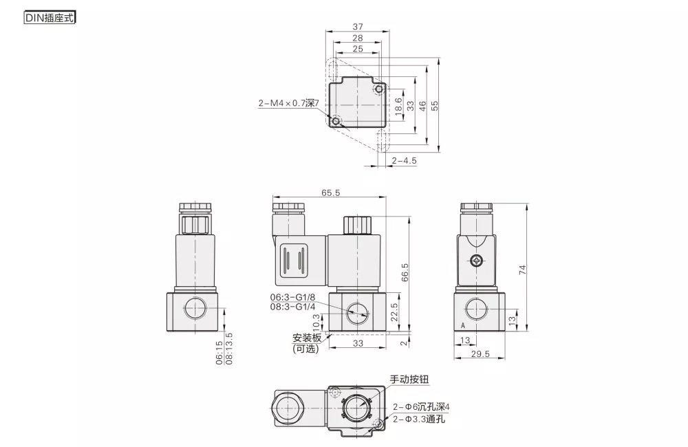
06:G1/8

NC: normalt stengt

A: AC220V

Blank: DIN type

Blank: G

 

 

 

 

08:G1/4

NEI: normalt åpnet

B: DC24V

I: Linjetype

T:NPT

 

 

 

 

 

 

C: AC110V

 

 

 

 

 

 

 

 

E: AC24V

 

 

 

 

 

 

 

 

F: DC12V

 

 

 


Modell

3V206

3V208

Arbeidsmedium

Luft (filtrert med 40 μm eller høyere filter)

Luft (filtrert med 40 μm eller høyere filter)

Fungerende type

Direkte skuespill

Portstørrelse

G1/8

G1/4

Posisjon og vei

2 Posisjon 3-veis

Effektivt område

3,2 mm²(Cv = 0,18)

3,4 mm² (Cv = 0,19)

Smøring

Ikke nødvendig

Driftstrykkområde

0 ~ 0,8 MPa (0 ~ 114 psi)

Bevistrykk

1,5 MPa (215 psi)

Driftstemperatur (℃)

-20 ~ 70

Kroppsmateriale

Aluminiumslegering

 

Standard spenning

AC220V AC110 AC24V  DC24V  DC12V

Spenningsområde

AC:±15% DC:±10%

Strømforbruk

AC:7VA DC:7,0W

Beskyttelsesklasse

IP65 (DIN40050)

Isolasjonsgrad

B nivå

Tilkoblingstype

DIN Plugg Type/Line Type

Min. eksitasjonstid

0,05 sek


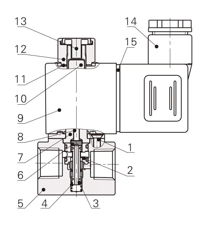
Ingen.

Navn

1

Forsenket skrue

2

Avstandshylse

3

Kjernemontering

4

Vår

5

Kropp

6

Pakning

7

Magnetenhet

8

Stempelstang

9

Spole

10

Bevegelig jernkjerne

11

Fast skive

12

Fast mutter

13

Manuell knapp

14

Terminal

15

Terminalpakning


Punkt

3V1-M5/3V1-06

2V025-06/2V025-08

3V2-06/3V2-08

3V3-08

Arbeidsmedium

Luft

Luft, vann, olje

Luft

Luft

Opprinnelig tilstand:

NC

NC/NO

NO/NC

NO/NC

Aktiveringstype

Direkte skuespill

Direkte skuespill

Direkte skuespill

Direkte skuespill

Portstørrelse

M5;G1/8

G1/8; G1/4

G1/8; G1/4

G1/4

Posisjon og vei

3 Port 2 Posisjon

2 Port 2 Posisjon

3 Port 2 Posisjon

3 Port 2 Posisjon

Smøring

Ikke nødvendig

Ikke nødvendig

Ikke nødvendig

Ikke nødvendig

Arbeidstrykk

0–0,7 MPa

0–0,7 MPa

0–0,8 MPa

0–0,8 MPa

Bevistrykk

1,2 MPa

B nivå

1,2 MPa

1,2 MPa

Størrelse på åpningen

φ1,2 mm

φ2,5 mm

Φ3,2 mm/φ3,4 mm

Φ11 mm (stor luftstrøm)


Vanlige spørsmål:

Spørsmål: Hva er den viktigste forskjellen mellom 3V2 og 3V3 magnetventil?

A: 3V2: mellomstrøm, passer for lite pneumatisk kontrollsystem

3V3: høy flyt, passer for flere sylindre eller høystrømsapplikasjoner.

Strukturforskjell: 3V3 har større kropp og kan håndtere høyere trykk og flyt.


Spørsmål: Hva er størrelsen på 3V2 magnetventilåpningen?

A: 3V2-06 ventilåpningsstørrelse er 3,2 mm; 3V2-06 ventilåpningsstørrelse er 3,4 mm


Spørsmål: Hvilke produkter kan OLK 3V2 erstatte?

A: OLK 3V2 kan erstatte AIRTAC 3V2-seriens magnetventiler med samme funksjon og lignende spesifikasjoner.


Hot Tags: 3V2 magnetventil 3-veis, Kina, produsent, leverandør, fabrikk
Send forespørsel
Kontaktinfo
Velkommen til vår nettside! For spørsmål om våre produkter eller prisliste, vennligst legg igjen din e-post til oss, så tar vi kontakt innen 24 timer.
E-post
cici@olkptc.com
Mobil
+86-13736765213
Adresse
Zhengtai Road, Xinguang Industrial Zone, Liushi, Yueqing, Wenzhou, Zhejiang, Kina.
X
Vi bruker informasjonskapsler for å gi deg en bedre nettleseropplevelse, analysere nettstedstrafikk og tilpasse innhold. Ved å bruke denne siden godtar du vår bruk av informasjonskapsler. Personvernerklæring
Avvis Akseptere